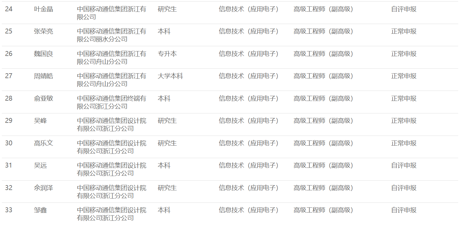
经2024年度省信息技术高级工程师职务任职资格评审委员会评审,中国移动通信集团共49人具有高级工程师职务任职资格(名单详见附件),现予公示。
公示时间从2025年1月21日至2025年1月25日,共5个工作日。
在公示期限内,各相关单位和个人均可通过来信、来电、来访的形式,向下列有关单位反映公示对象存在的问题。以单位名义反映问题的应加盖公章,以个人名义反映问题的提倡署报本人真实姓名。反映问题要坚持实事求是的原则,反对借机诽谤诬告。受理单位及联系电话如下:
浙江省软件行业协会 0571-89719267、89719268
传真:88473228;地址:杭州市文三路90号东部软件园科技大厦A408室;邮编:310012。

浙江省职称评审服务中心,途焱职称代理咨询
提供助理工程师、中级工程师、高级工程师、正高级工程师评审代办服务
面向建筑、机电、能源、信息、特种设备、医药、食品、经济等各类专业
官方资质保证、正规申报、通过率高、全流程服务直到下证
若中途因为政策变动等原因导致的未通过,可以根据合同协议退还相应费用

想通过职称评审快速升职加薪、领取对应补贴,可以扫码添加途焱教育温老师微信,免费获取一对一职称申报方案